Nosač prolazni za stub PSK 10
65548
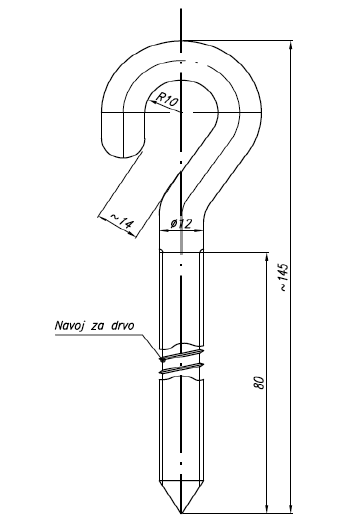
TEHNIČKI USLOVI TELEKOMA

* Izražene veličine su u milimetrima

Izrađeno prema: Tehnički uslovi Telekoma
Zaštita: Prema TU PTT Vesniku 9/1975
65548
TEHNIČKI USLOVI TELEKOMA

* Izražene veličine su u milimetrima

Izrađeno prema: Tehnički uslovi Telekoma
Zaštita: Prema TU PTT Vesniku 9/1975
Laze Lazarevića 42, Novi Sad
Telefon:
021/ 466-351
636-88-80
636-88-92
636-95-66
469-098