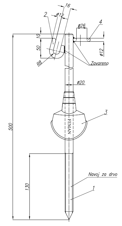
Nosač krovni prolazni krajnji PSK 13/500
666221
PTT VESNIK 3/68

* Izražene veličine su u milimetrima
| Tip nosača | Ukupna dužina (mm) | Dužina navoja za drvo (mm) | Prečnik armature za kuku i okce (mm) | Prečnik otvora okca (mm) | Dubina kuke - spoljna mera min (mm) | Otvor kuke (mm) |
|---|---|---|---|---|---|---|
| PSK13/500-400 F | 400 | 130 | 12 | 24-26 | 50 | 14 |
| PSK13/500-500 F | 500 | 130 | 12 | 24-26 | 50 | 14 |
| PSK13/500-660 F | 660 | 130 | 12 | 24-26 | 50 | 14 |

Izrađeno prema: PTT Vesniku 3/68
Zaštita: Prema TU PTT Vesniku 9/1975
Primena: Za najveće opterećenje nosača je 500dN